ZY6
Cyclone separator

ZY6
Cyclone separator

ZY6 <br/>Cyclone separator
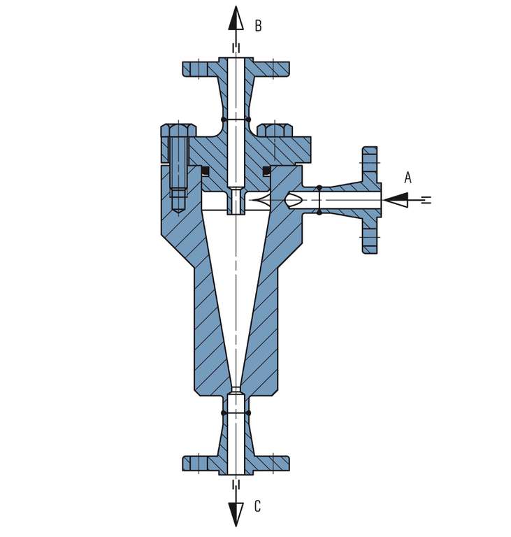
ZYA6000A4

A Contaminated liquid IN
B Clean liquid OUT
C Separated liquid OUT

ZY6
Cyclone separator

Features

The ZY6A4 range is available in three versions:
ZYA6000A4
Cyclone separator for high flow rates and high pressures.
ZYB6000A4
Cyclone separator for high flow rates and high pressures; 100 % X-ray capability.
ZYC6000A4
Cast version, block-type design with integral flanges.

Advantages

  • Contamination is automatically conveyed to the suction nozzle of the pump:
    maintenance-free mode of operation for guaranteed reliability
  • High filtration efficiency
  • Wide range of products for the optimum solution for every application
  • ZYA6000A4 and ZYB6000A4:
    available for operating pressures of
    up to 200 bar (2,900 PSI)
  • ZYC6000A4 in block-type design with integrated flange connections:
    low space requirements because of compact design

Standards and approvals

  • API 682 / ISO 21049
  • API 682 4th ed. Cat. 2/3 - 1CW-FL
  • API 682 4th ed. Cat. 2/3 - 2CW-CW
  • API 682 4th ed. Cat. 2/3 - 2CW-CS
  • API 682 4th ed. Cat. 2/3 - 3CW-FB
  • API 682 4th ed. Cat. 2/3 - 3CW-BB
  • API 682 4th ed. Cat. 2/3 - 3CW-FF
  • API 682 4th ed. Cat. 1 - 1CW-FX
  • API 682 4th ed. Cat. 1 - 2CW-CW
  • API 682 4th ed. Cat. 1 - 3CW-FB

Functional description

Cyclone separators of the ZY6A4 range are used to clean mainly aqueous liquids containing contamination such as dirts and solids (e.g., in circulation systems of sewage, sludge or pipeline pumps).

The best possible filtration efficiency is achieved when the specific weight of the solids is much higher than that of the carrier liquid and when the differential pressure is as large as possible within the permissible pressure range (min. 1.7 bar (24.7 PSI) in accordance with API 682). The viscosity of the medium is a factor that also needs to be taken into account.

Recommended piping plans




Product variants

Designation ZYA6000A4 ZYB6000A4 ZYC6000A4
Features Standard 100 % X-ray capable Cast version
Connections -
product inlet
Flange 3/4",
600 lbs
Flange 3/4",
600 lbs
Integrated flange 3/4",
600 lbs
Connections -
clean product outlet
Flange 3/4",
600 lbs
Flange 3/4",
600 lbs
Integrated flange 3/4",
600 lbs
Connections -
contaminated product outlet
Flange 3/4",
600 lbs
Flange 3/4",
600 lbs
Integrated flange 3/4",
600 lbs
Allowable pressure1) 60 bar
(870 PSI)
60 bar
(870 PSI)
60 bar
(870 PSI)
Temperature range -29 °C … +150 °C
(-20 °F … +302 °F)
-29 °C … +150 °C
(-20 °F … +302 °F)
-29 °C … +150 °C
(-20 °F … +302 °F)
O-Ring 2) Viton® Viton® Viton®
Wetted parts 316/316L 316/316L 316/316L


Other versions on request.

1) Max. permissible working values depend on version.
2) Other materials on request, e.g., EPDM, FFKM


ZYB6000A4
Cyclone separator for high flow rates and high pressures; 100 % X-ray capability.
ZYC6000A4
Cast version, block-type design with integrated flanges.

Similar products

Contact

Inquire about individual solutions

We develop and produce customer-specific special and individual solutions for every application.

Inquire now Discover reference projects
Back to the overview